Трубная соска и сочетание
-
Фитинги
- Фланец
-
Кованая трубная фитинга
- Сочетание сварного шва
- Стычка сварки боковой
- ПРОКТИННЫЙ ПЕРЕКЛЮЧЕНИЕ
- Сварная сварка
- Сочетание сварки
- Крышка сварной шерсти
- Шок сварной шва
- Сварка сокета на 90 градусов локоть
- Сварка сокета 45 градусов локоть
- Сварная сварная сварная сварка
- Сокет сварка x женский союз.
- Butt Weld Union
- Резьба 45 -градусный локоть
- Резьба на 90 градусов локоть
- Уличный локоть
- Резьбовая футболка
- Резьбовая крышка
- Резьбовой адаптер
- Резьбовой крест
- Резьбовый боковой
- Промывка втулка
- Гексагон голова втулка
- Резьбовая связь
- Резьбовая половина связи
- Шестигранник
- Круглая головка
- Квадратная головка
- Резьбовой союз
- Мужской x женский союз.
- Lug Nut Union
- Swage Nipple и Bull Plugs
- Выпускная сварная сварка
- Локоть
- Фланцевый выпуск сосков
- Боковой выход
- Выход сосков
- Розетка сварки
- Развернуть выход
- Резьбовая розетка
- Прикладная сварка
-
Из нержавеющей стали 150 фунтов завинчивали фитинги
- Из нержавеющей стали прикрученные 45 локтей
- Из нержавеющей стали прикрученные 90 локтей
- Из нержавеющей стали привинчивали 90 уличных локтей
- Из нержавеющей стали прикрученная равная футболка
- Из нержавеющая сталь прикрученная футболка
- Привинченный привинчиваемый крест из нержавеющей стали
- Из нержавеющей стали привинченной союз конический FF
- Из нержавеющей стали привинченной союз конический MF
- Из нержавеющей стали привинченной союз конический MM
- Из нержавеющей стали привинченной шланговой сосок
- Из нержавеющей стали прикрученные параллельные соски
- Вкрученная из нержавеющая сталь
- Привинчиваемая из нержавеющая сталь приводка
- Втулка из нержавеющей стали втулка
- Из нержавеющей стали привинченной шестигранной сосок
- Сварка из нержавеющей стали.
- Из нержавеющая сталь винтовая шестигранная гайка
- Из нержавеющей стали винтовой шестигранной крышки
- Стежная шестигранная заглушка из нержавеющей стали
- Из нержавеющая сталь привинченные полузащиты
- Camlock из нержавеющей стали
- Трубная соска и сочетание
- Податливая железная труба фитинги
- Пластичная железная труба фитинга
- Демонтаж соединение и адаптер фланца
- Ремонтные зажимы
- Резиновая гибкая связь
- Трубные зажимы
-
Клапаны
- Двустворчатый клапан
-
Шаровой кран
- 1 % из нержавеющей стали с резьбовым шариковым клапаном
- 2 пункта из нержавеющей стали с резьбовым шариковым клапаном
- 2 пункта из нержавеющей стали фланцевой шариковой клапан
- 2 пункта из нержавеющей стали фланцевой фланце
- Шаровой клапан из нержавеющей стали 3PC
- Фланцевой клапан из нержавеющей стали 3PC
- Шаровой клапан с из нержавеющей стали с из нержавеющей стали
- Мини -шаровой клапан с ручкой рычага
- Шаровой клапан типа пластины
-
Задвижка
- DIN 3352 F4/F5 Устойчивые сидячие фланцевые затворы клапаны
- DIN3352 F4 металлические фланцевые фланцевые затворы с фланцевым затвором
- BS5150 Нераспозиционный фланцевый клапан стержней стержней
- BS5163 Устойчивые сидячие фланцевые затворы клапан
- BS3464 Неразовые клапаны стволовых затворов
- MSS SP-70 Металлоизрелый ливаттеновый неразовый клапан ствола
- MSS SP-70 Металлический листовый чугун, поднимающийся клапан стволовых затворов
- Awwa c509 awwa c515 чугунные ворота
- Клапан торцевого затвора гнезда для трубы из ПВХ
- DIN 3202 Cast Steel Gate Calve
- API600 OS & Y Cast Steel Gate Calve
- Шаровой вентиль
- Проверьте клапан и ситетр Y
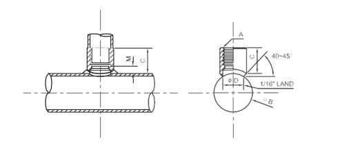
Резьбовая сварная розетка
Заявление:
Резьбовая сварная розетка
Материал: Cabon Steel S/10, S/40 из нержавеющей стали S/10, S/20 материал для ковки
Обработка поверхности: нефть или электрическое оцинкование
Применяемый тип трубы: ASTM A53 Grade A или B / ASTM A 106-B / KSD 3507 / KSD 3562 / KSD 3576
Для использования с: воздухом, природным газом, нефтью, паром, водой
Темы: ASME B1.20.1, ISO 7/1
Технические характеристики: ANSI/ASME B16.11, MSS SP-97
Технические характеристики:
![]()
Резьбое сварное измерение
| Size | In | 1/2" | 3/4" | 1" | 1-1/4" | 1-1/2" | 2" | 2-1/2" | 3" | 4" |
Pipe Run Size | In | 1-4" | 1-4" | 1-1/4"-6" | 1-1/2"-6" | 2"-6" | 3"-6" | 3"-8" | 4"-8" | 6"-8" |
| A | In | 1.083 | 1.331 | 1.555 | 1.87 | 2.165 | 2.724 | 3.209 | 3.957 | 4.961 |
| C | In | 1.063 | 1.126 | 1.248 | 1.374 | 1.626 | 1.752 | 2.217 | 2.5 | 3 |
Примечание:
У Eathu нет сертификата UL/FM для резьбовой сварной розетки, только сертификат ISO и CE.
Отправить образцы могут быть приняты.
Сварная сварная розетка, используемая для пожарного гидранта, на систему холодной воды, пожалуйста, проверьте высокий давление, нагруженную Outlet
MEATE MOQ составляет 500 пунктов для каждого размера.
информация о продукте
Резьбовая сварная розетка
Расширенная нами резьбовая сварная розетка находится от 1/2 ″ до 4 ″. Они без сбоев и сейф. Сварная сварная розетка позволяет создавать резьбовую розетку в любом месте вдоль трубы. Они также известны как отдельные разъемы и сравнимы с Thredolet. Чтобы установить, просверлите отверстие в трубе, чтобы соответствовать размеру трубы фитинга и сварки на месте.
● резьбовые сварные выходы для защиты от пожарной защиты и другой системы трубопровода низкого давления.
● Сваренные сварные выходы оценены по 300 фунтов на квадратный дюйм при использовании в приложениях системы пожарной системы.
![]()
узнать сейчас
Если у вас есть какие-либо вопросы или пожелания по продукту, пожалуйста, заполните следующую форму, и мы свяжемся с вами как можно скорее.